Drawbridge Awarded Patent for Probabilistic Cross-Device Technology
Drawbridge, the leading digital identity company, today announced that the company has been awarded Patent No. 9,514,248 from the United States Patent and Trademark Office for “SYSTEM TO GROUP INTERNET DEVICES BASED UPON DEVICE USAGE,” validating the complexity and scale of the innovation and science that the company has developed as the heart of its technology stack. This patented system is the technology on which Drawbridge’s Connected Consumer Graph® and Cross-Device Platform are built.
“As global device adoption and proliferation reaches unprecedented levels, it has become increasingly difficult for brand and enterprises to understand consumers across multiple devices,” said Drawbridge Founder & CEO Kamakshi Sivaramakrishnan. “The Drawbridge Connected Consumer Graph, built on this patented system, offers an independent, accessible, scaled solution for digital identity that can be leveraged to make customer experiences on the internet more personalized – from advertising and content optimization, to product recommendations and fraud detection.”
“Knowing that the the regulatory environment around patents has become so stringent in recent years makes it even more validating that our application was deemed patent-worthy,” added Drawbridge CTO Devin Guan, who is named as an Inventor on the patent. “We’ve known internally that the achievements the team has made over the past few years have been incredible, but this patent serves as tremendous validation of the complexity of our technology and the scale of the problem we’re solving. It’s very rewarding to be recognized for making this net contribution to science and technology, and to be able to secure our place as the pioneers and leaders in the space with the first and only patented probabilistic cross-device identity-resolution technology.”
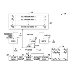
From the patent’s Abstract, the system comprises “an index structure that associates devices with device feature information; a pairing engine to determine device pairs based upon device feature information; a feature vector generation engine to produce feature vectors corresponding to determined device pairs based upon feature values associated within the index structure with devices of the determined device pairs; a scoring engine to determine scores to associate with determined device pairs based upon produced feature vectors; a graph structure, wherein nodes within the graph structure represent devices of determined device pairs, and wherein edges between pairs of nodes within the graph structure indicate determined device pairs; a clustering engine to identify respective clusters of three or more nodes within the graph structure that represent respective groups of devices.”
This news comes at a time of continued momentum for Drawbridge, with the company recently named to the 2016 Inc. 5000 list for the second year in a row, as well as closing its Series C funding round led by Sequoia Capital this Spring. Drawbridge’s expansion beyond digital marketing and advertising into enterprise SaaS applications has fueled the company’s growth in revenue, employees, offices, over the past 12 months, as the company’s total addressable market continues to expand with new digital identity applications.
***
Resources
- Learn more about the Drawbridge Connected Consumer Graph
- Read more Drawbridge News
- We’re Hiring – Join Our Team
About Drawbridge
Drawbridge is the leading anonymized digital identity company, building patented cross-device technology that fundamentally changes the way brands connect with people. The Drawbridge Connected Consumer Graph® includes more than one billion consumers across more than three billion devices, and verified to be 97.3% precise. Brands can work with Drawbridge in three ways: by licensing the Drawbridge Connected Consumer Graph for cross-device data applications; managing cross-device ad campaigns in real-time using the Drawbridge Cross-Device Platform; or working with Drawbridge to execute cross-device campaigns. The company is headquartered in Silicon Valley, is backed by Sequoia Capital, Kleiner Perkins Caufield Byers, and Northgate Capital, and has been named to the Inc. 5000 annual ranking of the fastest-growing companies in America for the past two years. For more information visit www.drawbridge.com.
Contact
Mike Murphy, Senior Marketing Manager
mike@drawbridge.com
( Press Release Image: https://photos.webwire.com/prmedia/48303/206577/206577-1.png )
WebWireID206577
- Contact Information
- Mike Murphy
- Senior Marketing Manager
- Drawbridge
- Contact via E-mail
This news content may be integrated into any legitimate news gathering and publishing effort. Linking is permitted.
News Release Distribution and Press Release Distribution Services Provided by WebWire.
